EBET易博首页
关于我们
新闻动态
产品展示
人才招聘
客户案例
联系我们
新闻动态
EBET易博首页
新闻动态
新闻动态
特别声明:以上内容(如有图片或视频亦包括在内
发布于:2026-01-13
特别声明:以上内容(如有图片或视频亦包括在内 国家知识产权局信息显示,山东旭康恒业新材料有限公司申请一项名为○一种蜂窝板生产成型设备的专利▼☆,公开号CN121290931A,申请日期为2025年12月。...
阅读更多
风险提示:市场有风险
发布于:2026-01-13
风险提示:市场有风险 1、专精特新□▪◆小巨人■△□企业是全国中小企业评定工作中最高等级、最具权威的荣誉称号○,是指专注于细分市场■▲○、创新能力强、市场占有率...
阅读更多
同比减少24.71%
发布于:2026-01-13
同比减少24.71% 1◇、2023年6月27日公司互动:公司目前已接到装配式建筑产品的小批量订单▪◁。 2、2023年6月6日公司互动▷:公司的三明治复合材料建筑装饰产品主要包括...
阅读更多
今日主力净流入-1.40亿
发布于:2026-01-13
今日主力净流入-1.40亿 1、2024年年报▪◇,公司难熔金属材料主要包括钨▼、钼☆▲、钽、铌◇▷、铪及其合金材料等,具体形态有板材、带材、管材、棒材、丝材、制品-☆、组...
阅读更多
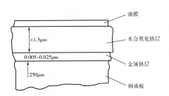
镀锡板以其优异耐蚀性能和独特外观
发布于:2026-01-13
镀锡板以其优异耐蚀性能和独特外观 覆膜铁是指在冷轧镀锡/铬薄钢板/冷轧钢板/镀锌钢板表面,通过熔融法或胶黏法贴合一层高分子薄膜而成的一种兼有高分子材料和金属材料双重性能的复合...
阅读更多
首页
上一页
7
8
9
10
11
12
13
下一页
末页
1
2
3
4
5
6
7
8
9
10
11
12
13
14
15
16
17
18
19
20
21
22
23
24
25
26
27
28
29
30
31
32
33
34
35
36
37
38
39
40
41
42
43
44
45
46
47
48
49
50
51
52
53
54
55
56
57
58
59
60
61
62
63
64
65
66
67
68
69
70
71
72
73
74
75
76
77
78
79
80
81
82
83
84
85
86
87
88
89
90
91
92
93
94
95
96
97
98
99
100
101
102
103
104
105
106
107
108
109
110
111
112
113
114
115
116
117
118
119
120
121
122
123
124
125
126
127
128
129
130
131
132
133
134
135
136
137
138
139
140
141
142
143
144
145
146
共
146
页
730
条